ナット 1 種 2 種 使い分け 187587
Q ナットの1種、2種の違いについて教えてください ずっと1種と2種の違いは高さだけだと思っていたのですが、調べてみると 1種は片面取り、2種は両面取りのようですが高さは関係がないのでしょうか 高さの違いは1種、2種ではなく低型とか低ナットになるの鋼(ねじの呼び径が39mm以下の1種、2種、及び4種の場合) 上、中、並 鋼(ねじの呼び径が39mm以下の3種及び42mm以上の場合) ステンレス鋼 非鉄金属 小形六角ナット 鋼(1種、2種及び4種の場合) 上、中 鋼(3種の場合) ステンレス鋼 非鉄金属一般的にナットと言われるものです。 2種 ・・・ 面取りが両側に付いている為、締め付け方向がきまっていません。 3種 ・・・ 1種、2種よりも薄く両側に面取りがあります。
ステンレス 六角ナット 1種 細目 M10 太さ 10mm 用 ピッチ 1 0 バラ売り 2個入り M B ネジのトミモリ 通販 Yahoo ショッピング
ナット 1 種 2 種 使い分け
ナット 1 種 2 種 使い分け-注1) 材料の表示は,ステンレスナット(jis b を適用したものは除く。),非鉄金属ナット, 3種の鋼ナット(附属書ja参照。附属書jb,jis b 又はjis b を適用したもの は除く。溝付ナットの種類には2種高型、1種高型、2種低型、1種低型があります。 2種高型:厚みがあり、溝が六角の部分の上にある。 1種高型:厚みがあり、六角の部分に溝が刻んである。 2種低型:薄く、溝が六角の部分の上にある。



袋ナット 蝶ナットの 豆知識 風が吹くまま 気の向くまま
1種・2種 M 4 07 7×321種2個分の締付寸法がとれない場合に、ダブルナットで利用されることがあります。 ★ISOと統合した JIS規格では、ナットは1種2種3種ではなく スタイル1,2,低ナット という標記になっていて、1種2種3種はJIS付属書に規定されています。六角ナット(2種) 規格 jis b 材質 鉄: swchなど 黄銅: c3604bdなど(切削品)、c2700wなど(ホーマー製) ステンレス: sus304など 処理 鉄: クロメート/ユニクロ/ニッケル/三価クロメート/三価黒クロメート 黄銅: 生地/ニッケル ステンレス: 生地
・2種ナットの役割は両方とも面取りがあるため方向性を気にせず作業性向上の特長がある。 ・小型ナットとは、2面幅(平径、スパナ径)が一般のナットに比べ小さい(例M8=12mm) 主に自動車関係で使用されている。 ねじ山の種類冨士精密のuナット 1種 2種(スチール・ステンレス)の選定・通販ページ。ミスミ他、国内外3,324メーカー、2,070万点以上の商品を1個から送料無料で配送。豊富なcadデータ提供。冨士精密のuナット 1種 2種(スチール・ステンレス)を始め、fa・金型部品、工具・工場消耗品の通販ならmisumivona。小形六角ナット 鋼(1種、2種及び4種の場合) ※片側のみ面取りした1種、両面取りの2種、両面取りで薄型の3種、座付きの4種がある。ただし4種はほとんど使われていない 六角ボルトの代表的なサイズ
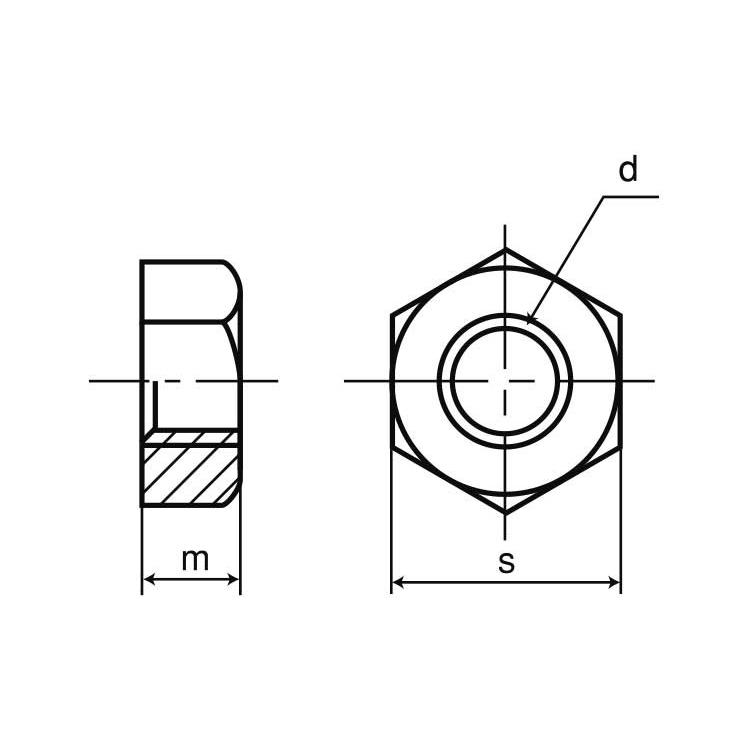
小形ナット・細目ナット・インチナットも取り扱っています。おといあわせください。 六角ナット1種(片面取り) 平径は図の(S)の寸法で厚みは(m)の寸法です。 六角ナット2種(両面取り) 六角ナット3種(厚みが薄い・両面取り)「六角ナット1種」をお探しですか?このページでは、代表的な「六角ナット1種」の規格を、図面・寸法表(jis b 1181:14 抜粋)・画像などで分かりやすくご紹介。午前中のお見積り依頼には即日回答いたします(当社営業日/規格品・在庫品に限り)。2 種と3 種ナットの組み合わせ 2種ナット同士の組み合わせ 注)2 種と3 種ナットを上下逆に使用してはならない。 注)2 種ナット同士では、ボルトの突出(ボルト全長) を 長くする必要がある。



六角ナット 1種 ウィットねじ ステンレス 大阪魂 六角ナット 1種 通販モノタロウ W1 2



Hnt1 St M38 六角ナット 1種 切削 極細目 sunco Misumi Vona ミスミ
・2種(低型) 1種より高さが低い呼び径と同じ高さ(m5以上)のタイプです。 ナイロンナットとは ・金属製ナット本体にゆるみ止め機能のナイロンリングをかしめてあります。また、ナットには(JISでは)1~3種のナットが規定 されています、1種はネジの呼び径の8割の厚さがあり、 (M8でしたら64ミリ) 3種は6割の厚さの、薄いナットです。 ダブルナットを締めるときには、先ず1種ナットを標準締付六角ナット(1種、2種) 呼 び ピッチ 寸法 ケース入数 概要・備考;


ねじの研究室 ねじの専門商社サンワ アイ 大阪



フランジボルトのjis規格サイズ早見表 Alumania Information
六角ナット Hexagon Nuts 仕上げ程度:中(M6未満は仕上げ程度:上) (ISO 4032~4036及びISO 8673~8675によらない六角ナット)JIS B 1181:09より抜粋 ° ° ° m m 1種 2種 3種注1) 材料の表示は,ステンレスナット(jis b を適用したものは除く。),非鉄金属ナット, 3種の鋼ナット(附属書ja参照。附属書jb,jis b 又はjis b を適用したもの は除く。「六角ナット1種」をお探しですか?このページでは、代表的な「六角ナット1種」の規格を、図面・寸法表(jis b 1181:14 抜粋)・画像などで分かりやすくご紹介。午前中のお見積り依頼には即日回答いたします(当社営業日/規格品・在庫品に限り)。



Uナット 1種 2種 スチール ステンレス 冨士精密 Misumi Vona ミスミ



製品カタログ ナット ゆるみ止めナット 締結部品の製造 販売 紀州ファスナー
1種(高型) 一般品 2種(低型) 1種より高さが低いです。 3種 小型 1種、2種より高さが低いです。 2面幅(平径)が一般のナットに比べて小さいもの。 細目 ピッチが細かいタイプ ナイロンナット1種Q ナットの1種、2種の違いについて教えてください ずっと1種と2種の違いは高さだけだと思っていたのですが、調べてみると 1種は片面取り、2種は両面取りのようですが高さは関係がないのでしょうか 高さの違いは1種、2種ではなく低型とか低ナットになるの六角ナットの種類 六角ナットには1種2種3種があり、一番使用されるのが1種で 一般的に「六角ナット」といえばこの1種を指します 。 1種は片方のみ面取りがあり、2種は両方に面取りがあります。 3種は厚みが薄いタイプになっています(実は4種もありますがほとんど流通がありません)。 *面取り・・・角部を削り角面や丸面などの形状に加工する事


本体規格 新jis 附属書 旧jis について プロスパー洸洋株式会社



鋼 S45c H 10割六角ナット 1種
ナット (日 母螺,英 nut) とは機械などの組立に使用される締結部品の一つ。 中央にめねじ(雌ネジ)と呼ばれる開口部が切ってあり、ボルトなどのおねじ(雄ネジ)部品と組合わせて使用される。 一般には形状が六角 柱をした六角ナットを指す。 形状はJISにより規格化されており、雌ねじダブルナットの1種・3種の順番を変えるとどうなるか? 私もよく考えることがあります。 原則は1種・3種の順番です。理由は1種ナットを締めて、その後1種ナットに スパナをかけた状態で3種ナットを締めつけるからだと、昔に上司から教わりました。"ダブルナット"は、振動に対する緩み止めとして有効な方法であり、二つのナットを使用してロックする訳で すが、1種 (片面取りの一般的な形) 又は2種 (両面取り形) と呼ばれるナットと、厚さの薄い3種ナット( ネジ径の6



ナイロンナット 2種 Nn2シリーズ 巴工業 Misumi Vona ミスミ


真鍮 六角ナット 1種 細目 M16 太さ 16mm 用 ピッチ 1 5 バラ売り 2個入り M0010c B ネジのトミモリ 通販 Yahoo ショッピング



六角ナットjis規格サイズ早見表と3種類の違い Alumania Information



楽天市場 鉄 生地 溝付ナット 2種 低形 m56 バラ売り 1個入り ネジのトミモリ


株式会社平井鉄工所


ねじの研究室 ねじの専門商社サンワ アイ 大阪


お知らせ 平塚イトウネジ



ステンレス 六角ナット 1種 その他細目



フランジボルトのjis規格サイズ早見表 Alumania Information


ステンレス 六角ナット 1種 細目 M10 太さ 10mm 用 ピッチ 1 0 バラ売り 2個入り M B ネジのトミモリ 通販 Yahoo ショッピング



楽天市場 鉄 生地 溝付ナット 2種 低形 細目 m16 ピッチ 1 5 お得セット 10個入り ネジのトミモリ



六角ナットjis規格サイズ早見表と3種類の違い Alumania Information



Uナット 2種 冨士精密 Misumi Vona ミスミ



Uナット 1種 2種 スチール ステンレス 冨士精密 Misumi Vona ミスミ



ステンレス 冷間蝶ナット 2種 Rタイプ ミリネジ Opg製



鉄 袋ナット 3形 その他細目



W5 8 六角ナット 1種 ウィットねじ ステンレス 1パック 4個 大阪魂 通販サイトmonotaro


ゆるみ止めナット ブラインドナットをはじめ ねじ 特殊圧造品のエキスパート 大阪フォーミング株式会社



ねじの知識 小ねじ タッピンねじ タップタイト何が違うの ブログ ねじからねじ締め機 計測 検査装置まで 日東精工株式会社



ねじ屋の世界へようこそvol 53 六角ナットのお話 ツルタボルト株式会社


Q Tbn And9gcqfiel2 Pundex6nm81trya5unoy8mzboznabu Z7rflhf3 Ght Usqp Cau



六角ナットjis規格サイズ早見表と3種類の違い Alumania Information



ダブルナットのよくある間違い ミス 使う人は要チェックです



袋ナット 蝶ナットの 豆知識 風が吹くまま 気の向くまま


ナイロンナット 富田螺子株式会社


ナットの基礎知識 ナットの種類 形状 特徴 全18種を解説



溝付ナット キャッスルナット 高形2種 sunco Misumi Vona ミスミ



六角ナットjis規格サイズ早見表と3種類の違い Alumania Information


Q Tbn And9gcq7tytu Yposyir3al9nhoam1isxcnwk Fyz Lgtogbvmitbfv Usqp Cau


鉄 六角ナット 1種 ウィット W3 8 太さ 3 8インチ 用 バラ売り 10個入り M B ネジのトミモリ 通販 Yahoo ショッピング



六角ナットjis規格サイズ早見表と3種類の違い Alumania Information



六角ナットjis規格サイズ早見表と3種類の違い Alumania Information



六角ナットjis規格サイズ早見表と3種類の違い Alumania Information



楽天市場 ステンレス 生地 六角ナット 1種 m3 5 バラ売り 10個入り ネジのトミモリ



W5 16 六角ナット 1種 ウィットねじ ステンレス 1パック 25個 大阪魂 通販サイトmonotaro



10 9規格 フランジボルト 1種 M6x30 三価クロメートメッキ



解説 旧jisとiso準拠のナット 1種とかスタイル1とか



Uナット 1種 2種 スチール ステンレス 冨士精密 Misumi Vona ミスミ



日生金属商事株式会社 ねじの何でやねん にお応えするよくある質問



M4 六角ナット1種 ステンレス 1箱 1500個 大阪魂 通販サイトmonotaro


ナットの種類と形状まとめ 18種類一覧で解説 ネジやボルトに関しての情報を発信するメディアです


本体規格 新jis 附属書 旧jis について プロスパー洸洋株式会社



ステンレス 六角ナット 3種 細目



M4 六角ナット1種 ステンレス 1箱 1500個 大阪魂 通販サイトmonotaro


真鍮 六角ナット 1種 細目 M16 太さ 16mm 用 ピッチ 1 5 バラ売り 2個入り M0010c B ネジのトミモリ 通販 Yahoo ショッピング



ナット豆知識 ねじナビ



アスクル コノエ Konoe コノエ ステンレス六角ナット1種m10 1 5 300個入 Nt Sus 0010 1箱 300個 360 3938 直送品 通販 Askul 公式


ナイロンナット 富田螺子株式会社



ステンレス 六角ナット 1種 その他細目


Http Www7b Biglobe Ne Jp Towasowrai Double nut 2 Pdf



楽天市場 鉄 ユニクロ 六角ナット 2種 m42 バラ売り 1個入り ネジのトミモリ



ナット 規格 寸法表


六角ナットにおける 1種ナットと2種ナットの使い分けを教えてください Yahoo 知恵袋



ステンレス 六角ナット 1種 その他細目


六角ナット 3種 双信工業株式会社


Http Www7b Biglobe Ne Jp Towasowrai Double nut 2 Pdf


Q Tbn And9gcrctvxcfjvm7nupu9jyuiski Aeiljjzho2bidujko9wil5wbi Usqp Cau



溝付ナット 高形 2種 その他細目の商品一覧 溝付ナット 高形 2種 その他細目 緩み止めナット 通販サイトのネジクル


ねじ専門店 kurukuruwave店長のブログ 六角ナット 1種 2種 3種の違いについて



六角ナット よくわかる規格ねじ



規格品 ねじ職人コラム 株式会社 ヤマシナ



楽天市場 ウィットねじ1種六角ナットw5 32 32 真鍮 シンチュウ 生地 個入 二面幅8高さ4 ジャパネジ楽天市場店



M90 六角ナット 1種 細目 鉄 生地 1個 大阪魂 通販サイトmonotaro


ナイロンナット 富田螺子株式会社



ナットの基礎知識 ナットの種類 形状 特徴 全18種を解説



ナット豆知識 ねじナビ



ねじ屋の世界へようこそvol 53 六角ナットのお話 ツルタボルト株式会社



W1 2 六角ナット 1種 ウィットねじ ステンレス 1パック 9個 大阪魂 通販サイトmonotaro 0551



六角ナット1種 Mねじ Wねじ ねじ 製品 商品情報 コンドーテック株式会社


六角ボルトの基礎知識 六角ボルトの製造 加工 株式会社ヨット印ダイワ



六角ナット 2種 sunco Misumi Vona ミスミ


真鍮 六角ナット 1種 細目 M16 太さ 16mm 用 ピッチ 1 5 バラ売り 2個入り M0010c B ネジのトミモリ 通販 Yahoo ショッピング



蝶ナット よくわかる規格ねじ



商品の詳細 サイズ一覧 鉄 六角ナット 細目 商品の選択 ナット 中分類の選択 大分類の選択 ネジ ボルト ナットのオンライン販売 ねじno1 Com


ステンレス 小形 六角ナット 1種 M12 太さ 12mm 用 バラ売り 2個入り M B ネジのトミモリ 通販 Yahoo ショッピング



Amazon 鉄 生地 溝付ナット 1種 低形 細目 m10 ピッチ 1 25mm 2個 溝付きナット 産業 研究開発用品 通販


株式会社平井鉄工所


Q Tbn And9gcq2efuv Erfs12zjsvlcqjfx2mnforwcy2n3zagbvawqyc 6pfu Usqp Cau



六角袋ナット よくわかる規格ねじ



W3 8 六角ナット1種 ウィットねじ 鉄 クロメート 1パック 50個 大阪魂 通販サイトmonotaro


六角ナット 規格表 ねじの問題解決 ねじの専門商社 池田金属工業株式会社



商品の詳細 サイズ一覧 鉄 六角ナット 細目 商品の選択 ナット 中分類の選択 大分類の選択 ネジ ボルト ナットのオンライン販売 ねじno1 Com



六角ナット 2種 sunco Misumi Vona ミスミ



解説 旧jisとiso準拠のナット 1種とかスタイル1とか



製品カタログ ナット ゆるみ止めナット 締結部品の製造 販売 紀州ファスナー



ステンレス Sus403 六角ナット 1種 ミリネジ



Uナット 1種 2種 スチール ステンレス 冨士精密 Misumi Vona ミスミ



2種ナット通販 販売 Misumi Vona ミスミ


ステンレス 六角ナット 1種 細目 M10 太さ 10mm 用 ピッチ 1 0 バラ売り 2個入り M B ネジのトミモリ 通販 Yahoo ショッピング



フランジボルト よくわかる規格ねじ


本体規格 新jis 附属書 旧jis について プロスパー洸洋株式会社



商品の詳細 サイズ一覧 鉄 六角ナット 細目 商品の選択 ナット 中分類の選択 大分類の選択 ネジ ボルト ナットのオンライン販売 ねじno1 Com



楽天市場 各種ねじ 工具 六角ボルト フランジボルト フランジボルト 7マーク付フランジボルト ネジのトミモリ



ナイロンナット 2種 Nn2シリーズ 巴工業 Misumi Vona ミスミ


製品案内


ゆるみ止めナット ブラインドナットをはじめ ねじ 特殊圧造品のエキスパート 大阪フォーミング株式会社
コメント
コメントを投稿